5.7 帳票アプリに登録された実績を仮登録に戻す

登録された実績を仮登録に戻すことで、標準ユーザーが帳票フォームを再び編集できるようになります。

  1. メニューから[管理モード]を選択します。
  2. 実績を仮登録に戻すアプリを選択します。
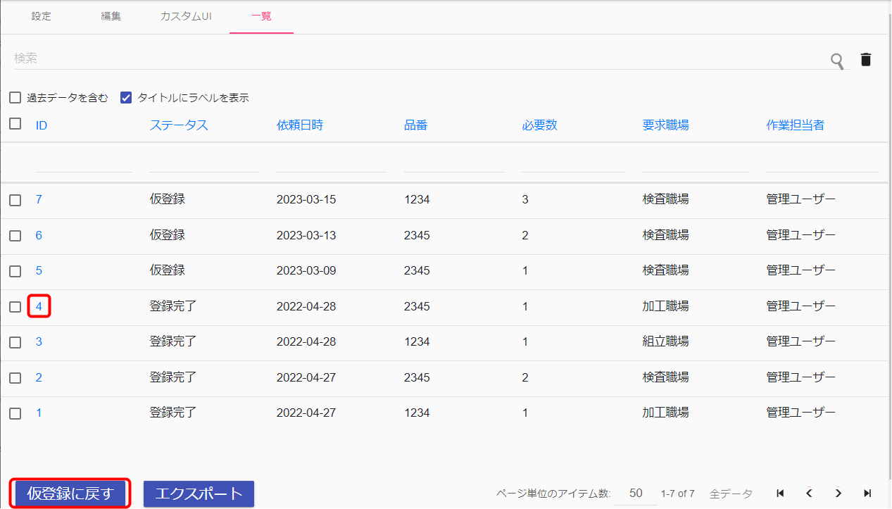
  3. 「一覧」タブを選択します。
  4. ID番号を選択して[仮登録に戻す]を選択します。
  5. 確認画面が表示されるので[はい]を選択します。

    [いいえ]を選択すると一覧画面に戻ります。