5.8 帳票アプリに登録された実績を削除する

  1. メニューから[管理モード]を選択します。
  2. 実績を削除するアプリを選択します。
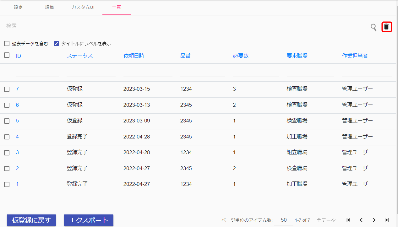
  3. 「一覧」タブを選択します。
  4. 削除したい実績のチェックボックスにチェックを入れて、右上の[]を選択します。
  5. 確認画面が表示されるので[はい]を選択します。

    [いいえ]を選択すると一覧画面に戻ります。